หน้าแรก
คอมมูนิตี้
ห้อง
แท็ก
คลับ
ห้อง
แก้ไขปักหมุด
ดูทั้งหมด
เกิดข้อผิดพลาดบางอย่าง
ลองใหม่
แท็ก
แก้ไขปักหมุด
ดูเพิ่มเติม
เกิดข้อผิดพลาดบางอย่าง
ลองใหม่
{room_name}
{name}
{description}
กิจกรรม
แลกพอยต์
อื่นๆ
ตั้งกระทู้
เข้าสู่ระบบ / สมัครสมาชิก
เว็บไซต์ในเครือ
Bloggang
Pantown
PantipMarket
Maggang
ติดตามพันทิป
ดาวน์โหลดได้แล้ววันนี้
เกี่ยวกับเรา
กฎ กติกา และมารยาท
คำแนะนำการโพสต์แสดงความเห็น
นโยบายเกี่ยวกับข้อมูลส่วนบุคคล
สิทธิ์การใช้งานของสมาชิก
ติดต่อทีมงาน Pantip
ติดต่อลงโฆษณา
ร่วมงานกับ Pantip
Download App Pantip
Pantip Certified Developer
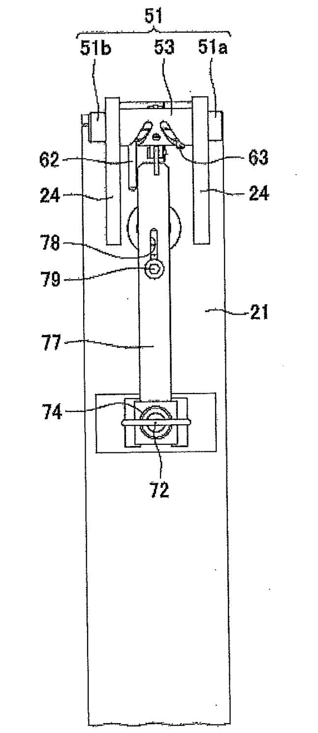
Follower pin ภาษาไทยเรียกว่าอะไรเหรอครับ (มีรูปประกอบ)
กระทู้คำถาม
วิศวกรรมศาสตร์
Follower pin ภาษาไทยเรียกว่าอะไรเหรอครับ
หมายเลข 63 ในรูปครับ
▼
กำลังโหลดข้อมูล...
▼
แสดงความคิดเห็น
กระทู้ที่คุณอาจสนใจ
[CR] รีวิว + สอนละเอียด! "ประกอบคอมพิวเตอร์เองยากไหม?" ฉบับมือใหม่จับมือทำ Step-by-Step สไตล์ช่างคอม
ทำไมถึงควรประกอบคอมพิวเตอร์เอง? ก่อนจะไปเริ่มประกอบ ผมอยากบอกข้อดีของการประกอบเองก่อนครับ 1. คุ้มค่าเงินทุกบาท เราเลือกสเปคได้ตรงกับการใช้งานจริง ไม่โดนยัดเยียดของค้างสต๊อก 2. อัปเกรดง่ายในอนาคต เม
น้ำ ใ ส ด อ ท ค อ ม
ขอรหัส pukและpin
ขอรหัส pukและpin ของหมายเลข 0990265336 ค่ะ
สมาชิกหมายเลข 7538339
รหัสแอพธนาคารโดนล็อค
คืออยากจะรู้ว่าเกิดจากอะไรครับ แอพธนาคารอยู่ดีๆขึ้นใส่รหัสผิดเกินจำนวนครั้ง ทั้งๆที่ยังไม่ได้กดเข้าแอพเลยพึ่งจะกดเข้าไปแล้วมันก็ขึ้นว่า ใส่รหัส PIN ไม่สำเร็จ ใส่รหัสผิดเกินจำนวนครั้งที่กำหนด แบบนี้เป็
สมาชิกหมายเลข 9299032
ขอใบเสร็จจองตั๋วเครื่องบิน จากBooking.comยังไงคะ
รบกวนสอบถามค่ะ มีจองตั่วเครื่องบินสายการบินของจีน กับBooking.com จะขอใบเสร็จนามองค์กรยังไงคะ ขอจากbooking.comได้ไหมคะ ติดต่อ ยากมากค่ะ ใส่หมายเลขจอง กับpin ทางโทรศัพท์ระบบบอกไม่พบข้อมูลการจอง ติดต่อ ย
สมาชิกหมายเลข 1191513
PIN : มีเส้นใหญ่หรือไม่ ไม่รู้ได้ รู้แต่ประกาศผลกอบการ 3/25/64 ตั้งแต่ 15/11/2564 ยังไม่รวมในข้อมูล SET
ข้อสังเกตุความแตกต่าง AQ : (๑) ประกาศผลประกอบการ 3/2564 ตั้งแต่ 15/11/2564 https://www.set.or.th/set/newsdetails.do?newsId=16369269990511&language=th&country=TH&nb
luck me
กรมบัญชีกลางแจ้งผู้ถือ 'บัตรสวัสดิการแห่งรัฐ' ถ้าจำรหัสไม่ได้ ไปกำหนดรหัสใหม่ได้ที่เอทีเอ็มกรุงไทยทุกสาขา
เพิ่มรหัสเอทีเอ็ม "บัตรสวัสดิการแห่งรัฐ" ไทยรัฐ (กรอบบ่าย) ฉบับวันที่ 25 พฤษภาคม พ.ศ. 2563 างสาววิลาวรรณ พยาน้อย รองอธิบดีกรมบัญชีกลาง เปิ
สมาชิกหมายเลข 894000
เติมบัตรเติมเงิน 1 2 Call เงินไม่เข้าทำอย่างไรครับ
เบอร์ โทร 084-468-7432 Pin 4496 9894 0230 หมายเลขบัตร 810605239008039 เติมเงินไม่เข้า จำนวน 300 บาท ให้ทำอย่างไรครับ ใช้งานไม่ได้เลยครับ
suwanchaisak
วิศวะเครื่องกล กับ วิศวะอุตสาหการ มจธ. เลือกอันไหนดีคะ
คือว่าเราลังเลระหว่างวิศวะเครื่องกลกับอุตสาหการ แล้วก็อยากรู้ว่าสายงานไหนไปได้ไกลกว่ากันคะ
สมาชิกหมายเลข 5113083
ขอรหัส บัตรเคดิตใหม่ ของกรุงเทพ ทาง SMS
ผมขอรหัส บัตรเคดิตใหม่ ของกรุงเทพ ทาง SMS ตามขั้นตอนแต่ได้รับการตอบกลับ error เกิดจากอะไร ส่ง PINเว้นวรรค ตามด้วยหมายเลขบัตร 4 ตัวท้าย xxxx ส่ง 4711333 ได้ข้อความตอบกลับเป็ Unknown error in applicat
สมาชิกหมายเลข 8770881
อ่านกระทู้อื่นที่พูดคุยเกี่ยวกับ
วิศวกรรมศาสตร์
บนสุด
ล่างสุด
อ่านเฉพาะข้อความเจ้าของกระทู้
หน้า:
หน้า
จาก
แชร์ :
โปรดศึกษาและยอมรับนโยบายข้อมูลส่วนบุคคลก่อนเริ่มใช้งาน
อ่านเพิ่มเติมได้ที่นี่
ยอมรับ
Follower pin ภาษาไทยเรียกว่าอะไรเหรอครับ (มีรูปประกอบ)
หมายเลข 63 ในรูปครับ