ดูเหมือนว่าทาง Apple จะหันมาเอาดีด้านกล้องเสียแล้ว เพราะในช่วงที่ผ่านมาเห็นสิทธิบัตรเกี่ยวกับกล้องออกมามากมายทีเดียว วันนี้ก็เป็นสิทธิบัตรที่เกี่ยวกับกล้อง ออกมาเพื่อแก้ปัญหาเรื่องขนาดของกล้องใหญ่เกินไปจนต้องนูนออกมาแบบบน iPhone 6 นั่นแหละครับ
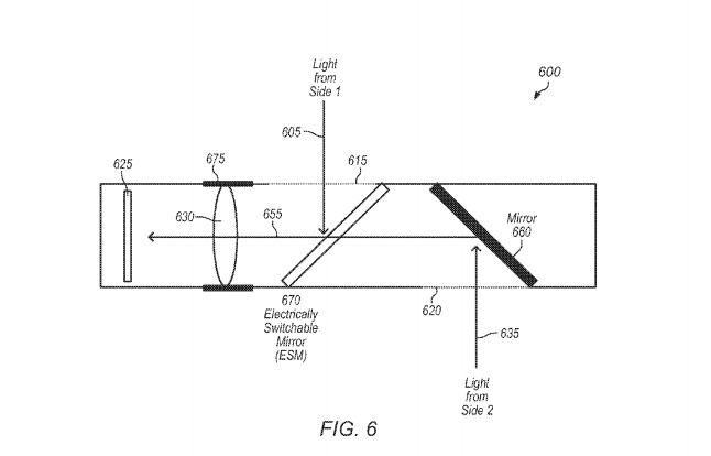
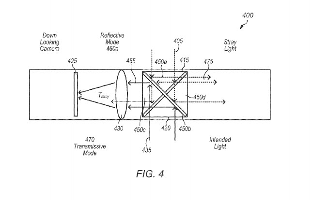
โดยสิทธิบัตรใหม่นี้ว่าด้วยการใช้เซนเซอร์รับภาพตัวเดียวแต่สามารถที่จะรับได้ทั้งจากกล้องหน้าและกล้องหลังซึ่งโดยปกติแล้วในปัจจุบัน กล้องหน้าและกล้องหลังจะใช้เซนเซอร์แยกกันอย่างชัดเจน ทำให้กินพื้นที่ภายในเครื่องพอสมควร
ซึ่งทาง Apple มองว่าหากใช้เซนเซอร์เป็นตัวเดียวกันไปเลยทั้งกล้องหน้าและกล้องหลัง แล้วใช้การสะท้อนภาพจากเลนส์ทั้ง กล้องหน้าแล้วกล้องหลังมาลงบที่เซนเซอร์ก็น่าทำได้เช่นกัน แถมประหยัดพื้นที่กว่าด้วย
ซึ่งแน่นอนว่าตอนนี้มันยังเป็นเพียงแค่แนวคิดครับ แต่ถ้าทำสำเร็จก็น่าสนใจไม่น้อยเลยทีเดียว เพราะนอกจากจะทำให้กล้องมีขนาดเล็กลงแล้ว ซึ่งส่งผลให้เครื่องบางลงได้นั้น กล้องหน้าและกล้องหลังก็จะมีความละเอียดและคุณสมบัติเท่ากันอีกด้วย
Source :
Phonearena via
Specphone
Apple มาเหนืออีกแล้วจดสิทธิบัตร เซนเซอร์กล้องอันเดียว ใช้ได้ทั้งกล้องหน้าและกล้องหลัง
ดูเหมือนว่าทาง Apple จะหันมาเอาดีด้านกล้องเสียแล้ว เพราะในช่วงที่ผ่านมาเห็นสิทธิบัตรเกี่ยวกับกล้องออกมามากมายทีเดียว วันนี้ก็เป็นสิทธิบัตรที่เกี่ยวกับกล้อง ออกมาเพื่อแก้ปัญหาเรื่องขนาดของกล้องใหญ่เกินไปจนต้องนูนออกมาแบบบน iPhone 6 นั่นแหละครับ
โดยสิทธิบัตรใหม่นี้ว่าด้วยการใช้เซนเซอร์รับภาพตัวเดียวแต่สามารถที่จะรับได้ทั้งจากกล้องหน้าและกล้องหลังซึ่งโดยปกติแล้วในปัจจุบัน กล้องหน้าและกล้องหลังจะใช้เซนเซอร์แยกกันอย่างชัดเจน ทำให้กินพื้นที่ภายในเครื่องพอสมควร
ซึ่งทาง Apple มองว่าหากใช้เซนเซอร์เป็นตัวเดียวกันไปเลยทั้งกล้องหน้าและกล้องหลัง แล้วใช้การสะท้อนภาพจากเลนส์ทั้ง กล้องหน้าแล้วกล้องหลังมาลงบที่เซนเซอร์ก็น่าทำได้เช่นกัน แถมประหยัดพื้นที่กว่าด้วย
ซึ่งแน่นอนว่าตอนนี้มันยังเป็นเพียงแค่แนวคิดครับ แต่ถ้าทำสำเร็จก็น่าสนใจไม่น้อยเลยทีเดียว เพราะนอกจากจะทำให้กล้องมีขนาดเล็กลงแล้ว ซึ่งส่งผลให้เครื่องบางลงได้นั้น กล้องหน้าและกล้องหลังก็จะมีความละเอียดและคุณสมบัติเท่ากันอีกด้วย
Source : Phonearena via Specphone