หน้าแรก
คอมมูนิตี้
ห้อง
แท็ก
คลับ
ห้อง
แก้ไขปักหมุด
ดูทั้งหมด
เกิดข้อผิดพลาดบางอย่าง
ลองใหม่
แท็ก
แก้ไขปักหมุด
ดูเพิ่มเติม
เกิดข้อผิดพลาดบางอย่าง
ลองใหม่
{room_name}
{name}
{description}
กิจกรรม
แลกพอยต์
อื่นๆ
ตั้งกระทู้
เข้าสู่ระบบ / สมัครสมาชิก
เว็บไซต์ในเครือ
Bloggang
Pantown
PantipMarket
Maggang
ติดตามพันทิป
ดาวน์โหลดได้แล้ววันนี้
เกี่ยวกับเรา
กฎ กติกา และมารยาท
คำแนะนำการโพสต์แสดงความเห็น
นโยบายเกี่ยวกับข้อมูลส่วนบุคคล
สิทธิ์การใช้งานของสมาชิก
ติดต่อทีมงาน Pantip
ติดต่อลงโฆษณา
ร่วมงานกับ Pantip
Download App Pantip
Pantip Certified Developer
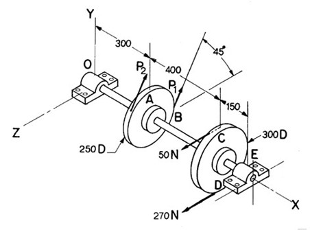
ขอวิธีหาโมเมนต์ของเพลาที่มีแรงจากพูเล่ย์สองแกนหน่อยครับ
กระทู้คำถาม
คณิตศาสตร์
วิศวกรรมศาสตร์
ฟิสิกส์
วิชาการ
กวดวิชา
ต้องการหา M ที่พูเล่ย์ทั้ง A และ C โดยที่พูเล่ย์ A อัตราส่วนแรงคือ P1/P2=3
▼
กำลังโหลดข้อมูล...
▼
แสดงความคิดเห็น
กระทู้ที่คุณอาจสนใจ
โจทย์ ฟิสิกส์ เรื่องแรงในสนามไฟฟ้า ผมไม่เข้าใจทั้งๆที่โจทย์ดูเหมือนจะง่าย
ABC เป็นสามเหลี่ยมด้านเท่ามีด้านยาวด้านละ a ถ้านําประจุ +q คูลอมบ์ ไปวางไว้ที่ A และที่ B มีประจุ -q คูลอมบ์ จง หาสนามไฟฟ้าที่เกิดขึ้นที่จุด C
สมาชิกหมายเลข 5044305
ช่วยผมหาค่า L2 กับ C3 ในวงจรนี้หน่อยครับ
ให้ W1 และ W2 เป็นเหมือนตัวต้านทาน (R1 และ R2 ตามลำดับ) ผมอยากได้สมการแสดงความสัมพันธ์ระหว่างความถี่เรโซแนนซ์ (f) กับ L2 และ C3 ครับ (เหมือน L3 ด้านล่าง) ให้ L3
อยากได้E 280 W124
การพันตัวเหนี่ยวนำ แกน EI
ถ้ากระแสไหลผ่านมัน 10 A ใช้ลวดเบอ AWG 26 และ แกน EI 33 เราจะต้องพันทั้งหมดกี่รอบครับ มีสูตรคำนวณให้ด้วยจะเป็นพระคุณอย่างสูงครับ
สมาชิกหมายเลข 3849361
ช่วยทำแบบฝึกหัดหน่อยครับ อ.ไม่สอนแต่ให้มาทำเอง
1. ตัวเก็บประจุ 3 ตัวมีความจุไฟฟ้า 2uF , 3uF , 6uFนำมาต่ออนุกรมกันแล้วนำไปต่อกับความต่างศักย์ไฟฟ้า 24V จะมีประจุบนตัวเก็บประจุแต่ละตัวเท่าไร. 2.จุดๆหนึ่งมึความต
สมาชิกหมายเลข 1257819
ทฤษฎีสี่เหลี่ยมด้านขนาน
ใครพอจะรู้บ้างไหมครับว่า R^2 =a^2+b^2+2abcosq การพิสูจน์ของมันใช้การแตกแรงแบบให้แรง r1 แตกแรงในแกน y กับ x แล้วมาบวกกับ r2 ที่อยู่ตามแกน x ได้ไหมครับ (คือมันมีว
สมาชิกหมายเลข 4892398
ระหว่าง RR vs Bentley มีข้อดีข้อเสียอย่างไรบ้าง
จากที่เคยเห็นตามท้องถนนนานๆจะเห็นทีครับ สองแบรนด์นี้ซึ้งดูจากภายนอกดูดีทั้งคู่สูสีมากๆหรูมาก แต่อยากจะทราบจากผู้มีประสบการว่ามีข้อดีข้อเด่นแตกต่างอย่างไร
สมาชิกหมายเลข 1204073
แบรนด์ Tesla สูงกว่า Rolls Royce อีกใช่มั้ยครับ
พอดีไปอ่านในกลุ่มมา เค้าบอกว่าที่ต่างประเทศทุกคนบอกว่า Tesla เป็นแบรนด์รถที่อยู่สูงกว่า Rolls Royce และ Ferrari เลย ได้ยินมาแบบนั้นจริง คือราคาใกล้กัน ภาพลักษณ์
สมาชิกหมายเลข 2663852
ถ้าเราโดน "โรลส์-รอยซ์" ทับหัวแม่เท้า เราจะรู้สึกเจ็บ-กระดูกแตก หรือไม่รู้สึกอะไรเลย เพราะระบบซับแรงกระแทกจะจัดการให้หมด
มีคนพูดว่า "โรลส์-รอยซ์" สามารถทำให้คนนั่งเหมือนลอยอยู่บนปุยเมฆ นั่นเป็นเพราะระบบช่วงอัจริยะจะช่วยซับแรงกระแทกได้อย่างเด็ดขาด ทีนี้ผมก็เกิดความคิดว่า
สมาชิกหมายเลข 3808787
ขอปรึกษากูรูผู้เชี่ยวชาญ ต้องการสอบถาม เรียน อะไรดี วิศวะไฟฟ้า (( หรือ )) วิศวะ semi conductor ส่วนตัวชอบเกี่ยวกับ
ขอขอบคุณ สำหรับทุกความคิดเห็น มีประโยชน์ กับเจ้าของกระทู้มาก ขอปรึกษากูรูผู้เชี่ยวชาญ ต้องการสอบถาม ปีนี้ Dek 69 เรียน อะไรดี วิศวะไฟฟ้า (( หรือ )) วิศวะ semi c
ตั๊กเหม่ง
แจก 3 สูตรอ่านหนังสือสอบ จำแม่น จำนาน จำได้ไม่ลืม!
💡อ่านหนังสือแบบแซนด์วิช 🍞ขนมปังชั้นแรก = อ่านหนังสือก่อนนอน 90 นาที เปิดรับความรู้เข้าไปในสมอง 🥓ไส้แซนด์วิชตรงกลาง = ความรู้ที่ได้จากการอ่านหนังสือ ต้องนอนหล
บทเพลงกลางเมฆา
อ่านกระทู้อื่นที่พูดคุยเกี่ยวกับ
คณิตศาสตร์
วิศวกรรมศาสตร์
ฟิสิกส์
วิชาการ
กวดวิชา
บนสุด
ล่างสุด
อ่านเฉพาะข้อความเจ้าของกระทู้
หน้า:
หน้า
จาก
แชร์ :
โปรดศึกษาและยอมรับนโยบายข้อมูลส่วนบุคคลก่อนเริ่มใช้งาน
อ่านเพิ่มเติมได้ที่นี่
ยอมรับ
ขอวิธีหาโมเมนต์ของเพลาที่มีแรงจากพูเล่ย์สองแกนหน่อยครับ
ต้องการหา M ที่พูเล่ย์ทั้ง A และ C โดยที่พูเล่ย์ A อัตราส่วนแรงคือ P1/P2=3