คำตอบที่ได้รับเลือกจากเจ้าของกระทู้
ความคิดเห็นที่ 1
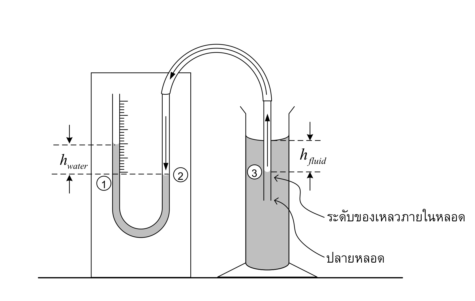
p= roh1g*h1 = roh3*g*h3
ความหนาแน่นของน้ำ x h water = ความหนาแน่นของเหลว x h fluid
แล้วก็แทนค่าแก้สมการ
ความหนาแน่นของน้ำ x h water = ความหนาแน่นของเหลว x h fluid
แล้วก็แทนค่าแก้สมการ
▼ กำลังโหลดข้อมูล... ▼
แสดงความคิดเห็น
คุณสามารถแสดงความคิดเห็นกับกระทู้นี้ได้ด้วยการเข้าสู่ระบบ
กระทู้ที่คุณอาจสนใจ
อ่านกระทู้อื่นที่พูดคุยเกี่ยวกับ
ฟิสิกส์
จะหาความหนาเเน่นจากมานอมิเตอร์ยังไงหรอครับ ฟิสิกส์
ถ้าสมมติ hwater = 2 cm hfluid = 0.96 cm