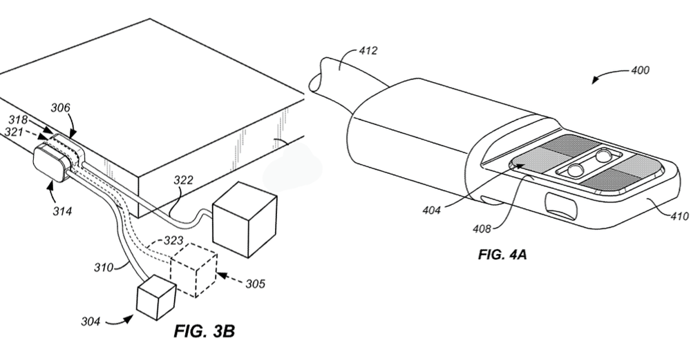
เมื่อสิ้นปีที่ผ่านมากับงานเปิดตัว iPad Pro รุ่นใหญ่ อุปกรณ์เสริมตัวหนึ่งที่น่าสนใจก็คือ Smart Connector หรือพอร์ตแม่เหล็กที่ไว้เชื่อมต่อกับ Smart Keyboard นั่นเอง ซึ่งล่าสุดแอปเปิลได้จดสิทธิบัตรเกี่ยวกับพอร์ตแม่เหล็กใหม่นี้เพิ่มอีกด้วย
โดยพอร์ตใหม่นี้คาดว่าจะถูกนำไปใช้กับพอร์ต Lightning ที่ไว้ชาร์จอุปกรณ์ iOS อยู่กันในปัจจุบัน ซึ่งสิทธิบัตรดังกล่าว จะพัฒนาพอร์ตแม่เหล็กใหม่นี้ให้สามารถชาร์จไฟและส่งข้อมูลไปพร้อม ๆ กันได้
ซึ่งในปัจจุบันพอร์ตที่เป็นแม่เหล็กก็จะมีเพียงแค่พอร์ต MagSafe หรือช่องไว้เสียบชาร์จบน Macbook Air และ Macbook Pro รวมไปถึงสายชาร์จ Apple Watch ด้วย
ถ้าสิทธิบัตรนี้นำไปใช้งานได้จริง เราจะได้เห็นอะไรใหม่ ๆ จะจะเปลี่ยนพฤติกรรมการชาร์จไฟและส่งข้อมูลไปได้หลายอย่างเลย ยกตัวอย่างเช่น แอปเปิลอาจจะทำ dock หรือ Smart Battery Case (เคสปูด) รุ่นใหม่ที่ไม่ต้องเสียบเข้ากับพอร์ต Lightning อีกต่อไป เพียงแค่ใส่เคสปกติ เราก็สามารถชาร์จไฟผ่านแม่เหล็กที่อยู่ในตัวเคสได้ทันที
ยิ่งไปกว่านั้นเราอาจจะเห็น External Harddisk, เมาส์, คีร์บอร์ด และอื่น ๆ อีกมากมาย ที่สามารถส่งข้อมูลผ่านแม่เหล็กไปพร้อม ๆ กับการชาร์จไฟได้ด้วย
หลัง ๆ มานี่แอปเปิลจดสิทธิบัตรอะไรเจ๋ง ๆ เยอะเหมือนกันนะ ตอนนี้เราก็ทำได้แค่รอว่าแอปเปิลจะพัฒนาเทคโนโลยีล้ำ ๆ แบบนี้ออกมาใช้เมื่อไหร่
ที่มา
http://www.macthai.com/2016/03/30/smart-connector-patent-stackable/
Apple จดสิทธิบัตรใหม่ พอร์ตแม่เหล็กที่สามารถชาร์จไฟ และส่งข้อมูลไปพร้อม ๆ กันได้
เมื่อสิ้นปีที่ผ่านมากับงานเปิดตัว iPad Pro รุ่นใหญ่ อุปกรณ์เสริมตัวหนึ่งที่น่าสนใจก็คือ Smart Connector หรือพอร์ตแม่เหล็กที่ไว้เชื่อมต่อกับ Smart Keyboard นั่นเอง ซึ่งล่าสุดแอปเปิลได้จดสิทธิบัตรเกี่ยวกับพอร์ตแม่เหล็กใหม่นี้เพิ่มอีกด้วย
โดยพอร์ตใหม่นี้คาดว่าจะถูกนำไปใช้กับพอร์ต Lightning ที่ไว้ชาร์จอุปกรณ์ iOS อยู่กันในปัจจุบัน ซึ่งสิทธิบัตรดังกล่าว จะพัฒนาพอร์ตแม่เหล็กใหม่นี้ให้สามารถชาร์จไฟและส่งข้อมูลไปพร้อม ๆ กันได้
ซึ่งในปัจจุบันพอร์ตที่เป็นแม่เหล็กก็จะมีเพียงแค่พอร์ต MagSafe หรือช่องไว้เสียบชาร์จบน Macbook Air และ Macbook Pro รวมไปถึงสายชาร์จ Apple Watch ด้วย
ถ้าสิทธิบัตรนี้นำไปใช้งานได้จริง เราจะได้เห็นอะไรใหม่ ๆ จะจะเปลี่ยนพฤติกรรมการชาร์จไฟและส่งข้อมูลไปได้หลายอย่างเลย ยกตัวอย่างเช่น แอปเปิลอาจจะทำ dock หรือ Smart Battery Case (เคสปูด) รุ่นใหม่ที่ไม่ต้องเสียบเข้ากับพอร์ต Lightning อีกต่อไป เพียงแค่ใส่เคสปกติ เราก็สามารถชาร์จไฟผ่านแม่เหล็กที่อยู่ในตัวเคสได้ทันที
ยิ่งไปกว่านั้นเราอาจจะเห็น External Harddisk, เมาส์, คีร์บอร์ด และอื่น ๆ อีกมากมาย ที่สามารถส่งข้อมูลผ่านแม่เหล็กไปพร้อม ๆ กับการชาร์จไฟได้ด้วย
หลัง ๆ มานี่แอปเปิลจดสิทธิบัตรอะไรเจ๋ง ๆ เยอะเหมือนกันนะ ตอนนี้เราก็ทำได้แค่รอว่าแอปเปิลจะพัฒนาเทคโนโลยีล้ำ ๆ แบบนี้ออกมาใช้เมื่อไหร่
ที่มา http://www.macthai.com/2016/03/30/smart-connector-patent-stackable/