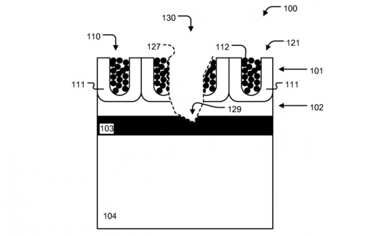
จะว่าไปมันก็คล้ายๆกับสิ่งที่ทาง LG ทำไว้กับฝาหลังของ LG G Flex นั่นแหละครับ กับวัสดุที่สามารถรักษาตัวเองได้เมื่อได้รับรอยขีดข่วนเล็กๆน้อยๆ ซึ่งนี่เป็นสิ่งที่ทาง Apple กำลังสนใจและทำอยู่เหมือนกัน
โดยสิทธิบัตรนี้ถูกยื่นจดไปตั้งแต่ปี 2014 แต่พึ่งมาได้รับการจดอย่างถูกต้องเมื่อสัปดาห์ที่ผ่านมานี้เอง ซึ่งในสิทธิบัตรกล่าวถึงการใช้วัสดุที่สามารถรักษาหรือลดการมองเห็นรอยขีดข่วนขนาดเล็กได้ ภายในเวลาอันสั้น ซึ่งคาดว่าน่าจะถูกนำไปใช้กับผลิตภัณฑ์ของทาง Apple ในอนาคตถ้าหากทำออกมาสำเร็จและใช้งานได้จริง
ที่มา
Specphone
Apple ยื่นจดสิทธิบัตรวัสดุซ่อมแซมตัวเอง (self-repairing ) ได้เป็นที่เรียบร้อยแล้ว
จะว่าไปมันก็คล้ายๆกับสิ่งที่ทาง LG ทำไว้กับฝาหลังของ LG G Flex นั่นแหละครับ กับวัสดุที่สามารถรักษาตัวเองได้เมื่อได้รับรอยขีดข่วนเล็กๆน้อยๆ ซึ่งนี่เป็นสิ่งที่ทาง Apple กำลังสนใจและทำอยู่เหมือนกัน
โดยสิทธิบัตรนี้ถูกยื่นจดไปตั้งแต่ปี 2014 แต่พึ่งมาได้รับการจดอย่างถูกต้องเมื่อสัปดาห์ที่ผ่านมานี้เอง ซึ่งในสิทธิบัตรกล่าวถึงการใช้วัสดุที่สามารถรักษาหรือลดการมองเห็นรอยขีดข่วนขนาดเล็กได้ ภายในเวลาอันสั้น ซึ่งคาดว่าน่าจะถูกนำไปใช้กับผลิตภัณฑ์ของทาง Apple ในอนาคตถ้าหากทำออกมาสำเร็จและใช้งานได้จริง
ที่มา Specphone